
はり/柱/トラスのグリッドシート入力
[架構配置入力]▶〔節点・部材〕▶[はり/柱/トラス]▶[はり/柱/トラスのグリッドシート入力]
はり、柱、トラス部材を配置します。
グリッドシート
①節点
【節点】で定義した節点名称を入力します。
部材の材軸方向は、I端からJ端を向きます。
基準座標軸と平行する部材は、材軸の方向と基準座標軸の方向が一致するように配置します。
逆方向に配置された場合、
【応力準備計算】で自動的にI端、J端を入れ替えます。
 |
| 部材の配置 |
②長さ
部材長さ(節点間距離)が自動的に入力されます。
③種別
「0:はり」、「1:柱」、「2:トラス」、「3:引張型トラス」、「4:圧縮型トラス」、「5:その他」から選択します。
④断面
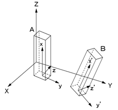
⑤部材軸
自動的に設定される部材座標系(
『基準座標系・局部座標系・部材座標系』を参照)を変更する場合、
【部材軸】で定義した部材軸名称を入力します。
 |
| A |
: |
プログラムで自動的に設定される部材座標系(x-y-z) |
| B |
: |
Aと異なる向きに部材の主軸を配置する場合は部材軸(y’-z’)を指定 |
|
| 部材軸の設定 |
⑥接合
節点との接合を剛接合にしない場合、
【接合】で定義した接合名称を入力します。
接合は2種類を定義でき、
【固有値計算条件】または
【荷重ケース】の「部材接合」で、考慮する接合を選択します。
接合条件が次の場合、不安定となるため、接合条件を自動的に変更します。
| 1 |
 |
4 |
 |
| I端を剛接合に変更 |
y方向を剛接合に変更 |
| 2 |
 |
5 |
 |
| I端を剛接合に変更 |
z方向を剛接合に変更 |
| 3 |
 |
6 |
 |
| I端を剛接合に変更 |
I端を剛接合に変更 |
⑦捻り剛性
捻り剛性を考慮するかを指定します。
⑧剛域
材軸上の剛域長さを入力します。
剛域は下図(剛域)のように設定されます。
剛域とオフセットが入力されている場合は、下図(オフセットと剛域)のように設定されます。
 |
 |
| 剛域 |
オフセットと剛域 |
⑨剛性増大率
剛性を低減または増大する場合、剛性増大率(>0.0)を入力します。
⑩オフセット
軸上にない剛域を設定する場合、
【オフセット】で定義したオフセット名称を入力します。
⑪出力名称
15文字以内で入力します。
【応力計算結果の出力】の「出力形式」で「名称優先」を選択した場合、ここで入力した名称別に出力・集計されます。
テキスト形式
| 項 目 |
省略値 |
| 節点-I端 |
|
| 節点-J端 |
|
| 長さ |
|
| 種別 |
0 |
| 断面 |
|
| 部材軸 |
|
| 接合-1-I端 |
|
| 接合-1-J端 |
|
| 接合-2-I端 |
|
| 接合-2-J端 |
|
| 捻り剛性 |
0 |
| 剛域-z軸-I端 |
0.0 |
| 剛域-z軸-J端 |
0.0 |
| 剛域-y軸-I端 |
0.0 |
| 剛域-y軸-J端 |
0.0 |
| 剛性増大率-φx |
1.0 |
| 剛性増大率-φy |
1.0 |
| 剛性増大率-φz |
1.0 |
| 剛性増大率-φmx |
1.0 |
| 剛性増大率-φmy |
1.0 |
| 剛性増大率-φmz |
1.0 |
| オフセット |
|
| 出力名称 |
|
説明
- 構造形式により、次の項目が入力可能です。
| 項 目 |
平面フレーム |
平面トラス |
平面格子ばり |
立体トラス |
立体フレーム |
| 部材軸 |
|
|
|
|
○ |
| 接合 |
○ |
|
○ |
|
○ |
| 捻り剛性 |
|
|
○ |
|
○ |
| 剛域-z軸 |
○ |
|
○ |
|
○ |
| 剛域-y軸 |
|
|
|
|
○ |
| 剛性増大率-φx |
○ |
○ |
|
○ |
○ |
| 剛性増大率-φy |
|
|
|
|
○ |
| 剛性増大率-φz |
○ |
|
○ |
|
○ |
| 剛性増大率-φmx |
|
|
○ |
|
○ |
| 剛性増大率-φmy |
○ |
|
○ |
|
○ |
| 剛性増大率-φmz |
|
|
|
|
○ |
| オフセット |
○ |
|
|
|
○ |
▲PAGETOP